Product Summary
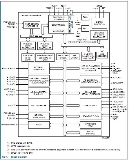
The LPC2148FBD64 is a microcontroller. The LPC2148FBD64 is based on a 16-bit/32-bit ARM7TDMI-S CPU with real-time emulation and embedded trace support, that combine the microcontroller with embedded high-speed flash memory ranging from 32 kB to 512 kB. A 128-bit wide memory interface and a unique accelerator architecture enable 32-bit code execution at the maximum clock rate. For critical code size applications, the LPC2148FBD64 alternative 16-bit Thumb mode reduces code by more than 30 % with minimal performance penalty. Due to their tiny size and low power consumption, the LPC2148FBD64 is ideal for applications where miniaturization is a key requirement, such as access control and point-of-sale. Serial communications interfaces ranging from a USB 2.0 Full-speed device, multiple UARTs, SPI, SSP to I2C-bus and on-chip SRAM of 8 kB up to 40 kB, make these devices very well suited for communication gateways and protocol converters, soft modems, voice recognition and low end imaging, providing both large buffer size and high processing power.
Parametrics
LPC2148FBD64 absolute maximum ratings: (1)VDD, supply voltage (core and external rail): -0.5 to +3.6 V; (2)VDDA, analog 3.3 V pad supply voltage: -0.5 to +4.6 V; (3)Vi(VBAT), input voltage on pin VBAT for the RTC: -0.5 to +4.6 V; (4)Vi(VREF), input voltage on pin VREF: -0.5 to +4.6 V; (5)VIA, analog input voltage on ADC related pins: -0.5 to +5.1 V; (6)VI, input voltage 5 V tolerant I/O pins; only valid when the VDD supply voltage is present: -0.5 to +6.0V; other I/O pins: -0.5 to VDD + 0.5 V; (7)IDD, supply current per supply pin: 100mA; (8)ISS, ground current per ground pin: 100mA; (9)Isink, sink current: 20 mA; (10)Tstg, storage temperature: -65 to +150℃; (11)Ptot(pack), total power dissipation (per package) based on package heat transfer, not device power consumption: 1.5W; (12)Vesd electrostatic discharge voltage human body model: -4000 to +4000 V.
Features
LPC2148FBD64 features: (1)16-bit/32-bit ARM7TDMI-S microcontroller in a tiny LQFP64 package; (2)8 kB to 40 kB of on-chip static RAM and 32 kB to 512 kB of on-chip flash memory; (3)128-bit wide interface/accelerator enables high-speed 60 MHz operation; (4)In-System Programming/In-Application Programming (ISP/IAP) via on-chip boot loader software. Single flash sector or full chip erase in 400 ms and programming of 256 B in 1 ms; (5)EmbeddedICE RT and Embedded Trace interfaces offer real-time debugging with the on-chip RealMonitor software and high-speed tracing of instruction execution; (6)USB 2.0 Full-speed compliant device controller with 2 kB of endpoint RAM. In addition, the LPC2146/48 provides 8 kB of on-chip RAM accessible to USB by DMA; (7)Two 32-bit timers/external event counters (with four capture and four compare channels each), PWM unit (six outputs) and watchdog; (8)Low power Real-Time Clock (RTC) with independent power and 32 kHz clock input.
Diagrams

| Image | Part No | Mfg | Description | ![]() |
Pricing (USD) |
Quantity | ||||||||||||
|---|---|---|---|---|---|---|---|---|---|---|---|---|---|---|---|---|---|---|
![]() |
![]() LPC2148FBD64,151 |
![]() NXP Semiconductors |
![]() ARM Microcontrollers (MCU) ARM7 512KF/40KR/USB |
![]() Data Sheet |
![]()
|
|
||||||||||||
| Image | Part No | Mfg | Description | ![]() |
Pricing (USD) |
Quantity | ||||||||||||
![]() |
![]() LPC200CTP |
![]() VCC |
![]() LED Light Pipes Round Lightpipe 2.00" Clear |
![]() Data Sheet |
![]()
|
|
||||||||||||
![]() |
![]() LPC2101 |
![]() Other |
![]() |
![]() Data Sheet |
![]() Negotiable |
|
||||||||||||
![]() |
![]() LPC2101FBD48,151 |
![]() NXP Semiconductors |
![]() ARM Microcontrollers (MCU) ARM7 8KF/2KR/10BADC |
![]() Data Sheet |
![]()
|
|
||||||||||||
![]() |
![]() LPC2102 |
![]() Other |
![]() |
![]() Data Sheet |
![]() Negotiable |
|
||||||||||||
![]() |
![]() LPC2102FBD48,118 |
![]() NXP Semiconductors |
![]() ARM Microcontrollers (MCU) 16K FL/4K RAM 10BIT ADC |
![]() Data Sheet |
![]()
|
|
||||||||||||
![]() |
![]() LPC2102FBD48,151 |
![]() NXP Semiconductors |
![]() ARM Microcontrollers (MCU) ARM7 16KF/4KR/10BADC |
![]() Data Sheet |
![]()
|
|
||||||||||||
(China (Mainland))










